+86-15996058266
Casa / Noticias / Patentes y ventajas de E-ASIA / Patentes y ventajas de E-ASIA

Patentes y ventajas de E-ASIA

Vistas:0     Autor:Editor del sitio     Hora de publicación: 2022-08-17      Origen:Sitio

Preguntar

facebook sharing button
twitter sharing button
line sharing button
wechat sharing button
linkedin sharing button
pinterest sharing button
whatsapp sharing button
sharethis sharing button

Podemos ofrecer cojinetes acoplados de metal lurgy, camiones mineros y plataformas marinas de perforación y reparación de cojinetes con nuestros productos y servicios de alta calidad.


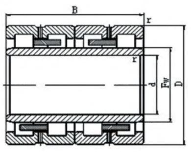
Rodamiento de rodillos cilíndricos de cuatro hileras de larga duración

Los rodamientos de laminador cilíndrico de cuatro filas se dividen en dos tipos de laminador de acero y laminador de aluminio.Su velocidad de rotación es de 400 a 600 rpm (acero) y de 1500 a 2000 rpm (aluminio) respectivamente.


Los rodamientos de rodillos cilíndricos de cuatro filas pueden soportar una carga radial y una carga de choque mucho más pesadas.Tienen mayor precisión y se pueden aplicar en los equipos que funcionan con alta velocidad de rotación.Rectificar la superficie de la pista de rodadura y el rodillo al mismo tiempo después de presionar el anillo interior sobre el cuello del rodillo favorece la mejora de la precisión de rodadura y el libre ajuste de la holgura de montaje de los rodamientos.Estos rodamientos se aplican principalmente al rodillo de trabajo y al rodillo de respaldo de los trenes de laminación y algunos otros casos.
FC: anillos exteriores dobles, anillo interior simple e interior sin brida.
FCD: anillos exteriores dobles, anillos interiores dobles y anillo interior sin pestaña.
FCDP: anillos exteriores dobles, solo tienen pestaña central, pero con nervadura suelta, anillo interior doble, interior sin pestaña.


Nº de rodamiento Dimensión (mm) Carga básica (kN) Masa (kg)
dxdxb Din.(Cr) Estado (Cor)
FC2640125 130x200x125 530 1200 14.6
FC3045120 150x225x120 645 1450 16.7
FC3246130 160x230x130 665 1705 16.9
FC3248124 160x240x124 685 1530 20.3
FC3248168 160x240x168 685 1530 26.4
FCD3446160 170x230x160 1100 2360 20
FC3452120 170x260x120 660 1790 24.6
FC3652124 180x260x124 735 1730 21.7
FC3652168 180x260x168 1070 2790 30.2
FC3652168/YA3 180x260x168 1070 2790 30.1
FC3854168 190x270x168 950 2430 30.2
FC3854168/YA3 190x270x168 950 2430 29.9
FC3854170/YA3 190x270x200 950 2430 30.2
FC4056188 200x290x192 985 2580 35.7
FC4462192/YA3 220x310x192 1300 1910 45.8
FC4462225 220x320x210 1450 4050 53.9
FC4666206/YA3 230x330x206 1350 3800 56.5
FC4866220/YA3 240x330x220 1620 4850 56.5
FC4866220 240x330x220 1620 4850 56.7
FC4872220 240x360x200 1700 4410 78
FC4872220A/C4YA3 240x360x200 1700 4410 78
FC5072220/YA3 250x360x220 1500 4250 76.9
FC5274200 260x370x200 1570 4250 73
FC5274220/YA3 260x370x220 1760 4900 79.2
FC5274220 260x370x220 1760 4900 80
FC5476230/YA3 270x380x230 1720 4800 80.2
FC5478230 270x390x236 2100 5950 97.8
FC5678220 280x390x220 1790 5150 86.5
FCDP5678275 280x390x275 2200 6250 102
FC6490240/YA3 320x450x240 2460 6720 119
FCD72102370 360x510x370 3850 11400 220
FCDP74104380 370x520x380 3900 12000 296
FCDP88124450 440x620x450 5200 15800 452
FCDP88124450/YA6 440x620x450 5200 15800 452
FCD96130450 480x650x450 4750 15400 419


60 años de historia desde la fundación, los rodamientos E-ASIA han obtenido las marcas SLYB, JSS.
Contáctenos
  NO.88, E-ASIA edificio 1-6 piso, parque industrial Jingjiang, provincia de jiangsu, china
  sales@zwz-skf.com
  +86-15996058266
  rachelsun168

Productos

Enlaces Rápidos

Derechos de autor © 2023 E-ASIA Bearing Co.,Ltd.  Sitemap Apoyado por Leadong